
“ 我们希望它能为孩子们
提供一个自由生长的空间,
诠释出注入小朋友们全新的想象力的趣味场所。”
船 & 缘起
Begining of the design
舟船史话可以从八千年前讲起,据《易经》记载:黄帝、尧、舜“刳木为舟,剡木为楫,舟楫之利,以济不通,致远以利天下。” 中国的船文化深远悠长,船因水而生,更因水能载舟而产生周流之利。

唐人韩翃说 “枕上未醒秦地酒,舟前已见陕人家。” 述说舟行时快速与便利的感受,柳中庸曰:“舟轻不觉动,缆急始知牵。” 一夜千里的行舟感受颇为深刻。这些均说明舟船自古对人们的出行,是多么的重要。但人们对载舟覆舟的现实,又无不产生敬畏之心,故舟船文化在人们心中无比神圣而倍加关注。
灵感
inspire

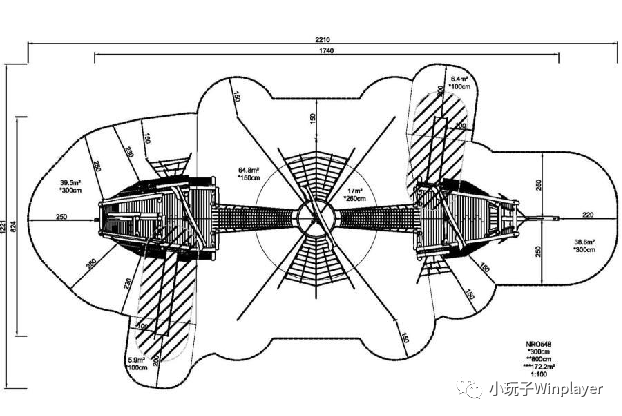
船型游乐设计
Design of ship type amusement park
船体空间丰富,造型特别,将船的概念与游乐结合能够满足很多的孩子一起游玩的需求,打造不一样的游玩空间。

船型游乐设计

设计 & 呈现
Design and show
一、整体化设计


船型游乐设计
Design of ship type amusement park
在海盗船上可以拥有绝佳的视野和有趣的滑梯体验。通往甲板的路线有很多种。透明的网桥从两个甲板上摇曳,向着桅杆中部的目的地,提供了令人振奋的攀爬。

摇摆的绳网,坚固的攀岩墙和倾斜的网桥可以产生弹跳的动作,是非常棒的肌肉训练。当孩子们在朋友的帮助下进行冒险游戏,向上攀爬,他们会建立起自信心。在甲板下,聚会点为您提供了不错的休息区域,也为您进行社交和思考下一步行动提供了场所。

二、局部元素设计

打破传统,以局部呈现整体的方式,形成了空间的破碎感。设计师又通过连桥和网状游乐的方式重新将空间连结,更突显设计感与艺术观感。

互联的弓网和梯子使一个挑战性的攀登,这需要肢体的交叉协调和肌肉的运动,能够帮助孩子们更好地进行锻炼。
三、实木主题:环保自然


定制户外游乐乐园,一个专业的合作方将是您需要考虑的前提之一。而 浙江小玩子游乐设备有限公司 始终坚持“沉浸式体验式”游乐,对于儿童游乐空间的设计要求创新,要求保证安全、玩法有趣,富有观赏性,更是一直坚持“回归游乐本真”的理念,将更多直接的感受与游乐设计进行融合。相信深耕行业十余年的浙江小玩子将会是您优秀的合作选择!![]()
自然主题乐园游乐项目设计 ☛ 寻寻“蜜蜜” || 蜜蜂主题户外乐园
— 探索更多 —

浙江小玩子游乐是国内的室内儿童乐园品牌,深耕行业十余载。是一家集设计、研发、生产、销售、加盟、运营为一体的综合性游乐设备企业,产品远销海内外。
生产基地:浙江省青田县油竹街道雅岙村下林湾路1号
公司地址:浙江省温州市世贸中心大厦46楼4604
服务热线:0577-6697-9666
13656773099
室内综合体官网: http://www.toysplay.net/
户外文旅官网:http://www.toyplays.net/
快手号:winplayer
抖音号:WINPLAYER
今日头条:奇乐小玩子
新浪微博:小玩子Winplayer
期待与您的合作!


发表评论
发表评论: